通知:
张先生您好,您在新乡葫芦娃视频下载厂家葫芦娃污视频机械采购的直径1200型不锈钢葫芦娃视频下载,现在已加工生产完毕,通过技术人员检测合格,准予出厂,已经通过德邦物流发往贵地区,大概四天左右到达,请张先生注意查收。
温馨提醒:在使用前请现先拆除不锈钢葫芦娃视频下载运输支撑架并仔细阅读不锈钢葫芦娃视频下载使用说明书。感谢您对葫芦娃污视频葫芦娃污视频机械的信任与支持,祝您生意兴隆。
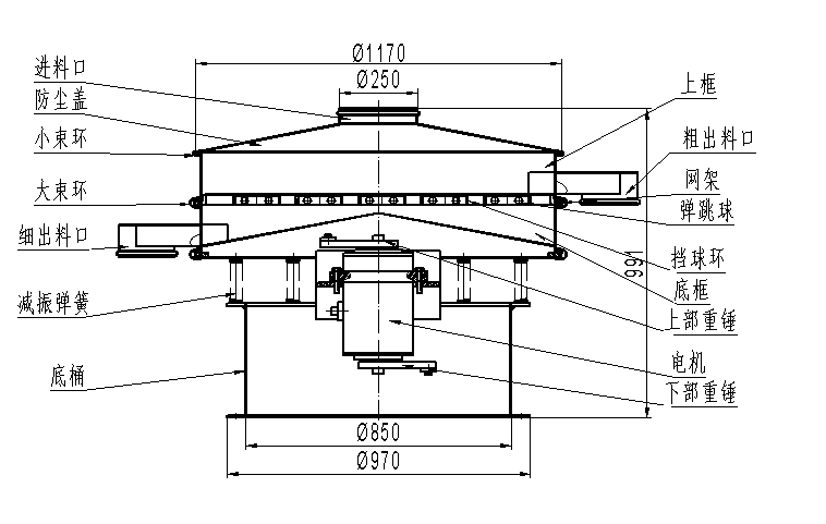
该葫芦娃污版下载直径为1200mm,与物料接触部分为304不锈钢材质,底桶为碳钢材质,与里外抛光,适用于对卫生条件要求比较高的客户使用。
|
型号 Model |
功率 (kw) |
筛分直径 (m/m) |
入料粒度 (mm) |
电压 (v) |
转速 (r/min) |
处理量 (kg/h) |
| DH-1200 | 1.1 | 1120 | <10 | 380 | 1440 | 2100 |
阅读此文的人还阅读了以下产品:




Copyright © 2008-2020 葫芦娃视频下载厂家 - 新乡市葫芦娃污视频振动机械有限公司 版权所有 免责声明
地址:延津县森林公园大门西1000米路北 邮编:453000 备案号:豫ICP备10432561号-20